华为进驻科技城!泰康养老项目落地,孔家营&如意地块再度流拍
扫描到手机,新闻随时看
扫一扫,用手机看文章
更加方便分享给朋友

过去的一季度,全国热点城市迎来集中供地小高潮,北京、武汉、厦门、青岛、成都等城市完成首轮供地,3月下旬,呼市上架6宗土地,涉及住宅、商业、科研等多种用途,4月22日,首次土拍落幕;
从竞拍结果来看,受疫情多点散发,房产市场下行影响,房企多持观望态度,土地市场回温有限,除科技城及东河板块社会福利用地成功拍出外,其余住宅、商业用地全部流拍。
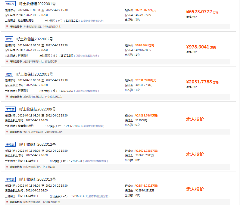
呼市2022年首轮土拍供应土地合计6宗,其中科研用地2宗,住宅用地2宗,社会福利用地1宗,商业用地1宗,出让面积达到228.304亩,起拍总价7.65亿元;
最终,成交土地3宗,成交总价9533.46万,全部为底价成交,成交面积合计88.953亩,地块均位于新城区,分别为科技城企业用地2宗,东河板块泰康养老社区用地1宗,其余涉宅及商业用地无人参与竞拍报名,最终流拍。

2022001宗地由泰康摘下,梳理时间线;
2021年3月,新城区与泰康人寿达成合作意向,未来将推动泰康在呼市落地养老社区;
随后数月内,泰康多次与呼市有关部门沟通洽谈合作项目;
2021年12月,泰康保险集团与呼和浩特市人民政府签署战略合作协议;
2022年4月,新城区重大项目发布会上,带来泰康落地消息;
泰康在呼市本轮土拍中以6523.07万的价格摘下2022001宗地,地块性质为社会福利用地,占地达48.68亩,容积率1.8,建筑密度<30%;
区位来看,泰康养老项目紧邻内蒙妇幼新址,周边已有数个新建住宅项目落地,敬业中学新校区进驻,成为近年来新城区宜学宜住的热点区域;
血拼哥综合地块配建要求及相关披露数据,泰康项目定名泰康之家·蒙园,定位大规模、全功能、国际标准的高品质医养社区,规划地上建筑面积5.8万平方米,可提供约900个养老单元,社区建设近5000平米的活力中心,未来建成后丰富区域医疗配套供给。根据数据显示,泰康此前已经在北京、上海、广州等25个核心城市布局28个养老社区,成为全国较大的高品质连锁养老品牌,此次落地呼市,后续动作值得关注。
科技城板块内成交土地2宗,2022002宗地由华为公司摘下,不动产由企业自持,未来将从事大数据及互联网相关产业;

按照此前新城区2022重点项目规划,该地块将打造为华为内蒙古区域中心,值得一提的是,2021年起科技城招商引资提速,已培育众创空间2个、星创天地6个、研发载体17个,孵化中小微企业300余家,已落地草原绿谷、中石化新能源北方研究中心、航天六院总部基地、中关村智酷产业园等重点项目,科技城高新技术产业持续进驻,三年成型的目标指日可待。
呼和浩特地铁公司取得2022003宗地,地块位于成吉思汗东街北侧,紧邻地铁2号线新店站,项目规划设计已经初步完成,后续将按照要求,从事数字化基础服务及芯片设计制造等业务。

孔家营板块住宅用地未能摘牌,2022012及2022013宗地,自2021年开始,先后三次通过改变土地属性,调整起拍价等方式上架3次,但均以流拍告终;在血拼哥看来,当前呼市楼市加速分化,房产的区域价值、流通能力更为买房人所倚重他,对开发商来说,面对销售放缓,蓄客难度加大的市场大环境,加之房企资金流动性压力影响,房企的关注度放在了盈利空间大,去化风险低,已经形成价值共识的地块;故而,面对类似孔家营板块这样存量项目去化乏术,配套尚不明确的待开发区域,210元/平的楼面价下降成本,不足以推动开发商落子布局,不过,目前围绕孔家营板块的电厂片区已经规划公示,未来将由华能落地产城一体的项目,后续或有望带动区域发展。
如意板块2022009地块未能摘牌,按照地块要求,竞拍企业需要自持商业70%,并持有15年以上,对商业运营能力,企业实力都有考量;从区位上看,2022009地块紧邻中海臻如府及东岸三期项目,且周边已规划中小学用地,是如意板块的核心地带,此次虽无人竞拍,但长远来看,随如意板块建设深入,多个住宅项目建设交付后,入住人口将持续增加,衍生出的消费需求是可感可预见的,板块内远期具备商业消费潜力,就目前来说,亟待补充的如意片区的大商业,落地仍需时日;
就此次土拍情况,血拼哥分析,2022年的呼市土地市场热度暂未恢复,不过也无需过度担忧,根据赛罕区2022整体规划,将陆续挂牌34宗土地,出让面积达4080亩,下阶段随节点推进,仍有大批优质地块供应,或许到时才是房企出手的良机,血拼也就持续报道一手信息,静待后续吧!
作者:血拼哥
责任编辑:血拼哥
信息参考:呼市公共资源交易网
声明:本文由入驻焦点开放平台的作者撰写,除焦点官方账号外,观点仅代表作者本人,不代表焦点立场。


